Den smarte 3-fasede høyspente mellomspennings Solid State mykstarterenheten sikrer jevn motorstart, reduserer innkoblingsstrømmen og beskytter utstyr. Den er ideell for industrielle pumper, vifter og tungt maskineri, og tilbyr energieffektiv drift og avansert digital kontroll for pålitelig ytelse.
Høyspent mykstart kan redusere spenningsfallet i strømnettet forårsaket av direkte start av motoren. Bruken av dette produktet vil ikke påvirke normal drift av annet utstyr i det felles nettverket. Det kan redusere slagstrømmen til motoren. Slagstrømmen vil forårsake for stor lokal temperaturøkning på motoren og redusere levetiden til motoren. Det kan redusere den mekaniske påvirkningen forårsaket av direkte start. Slaget akselererer slitasjen på det drevne maskineriet. Det kan redusere elektromagnetisk interferens. Slagstrømmen vil forstyrre normal drift av elektriske instrumenter i form av elektromagnetiske bølger. Høyspent mykstart kan starte og stoppe fritt, noe som forbedrer arbeidseffektiviteten.
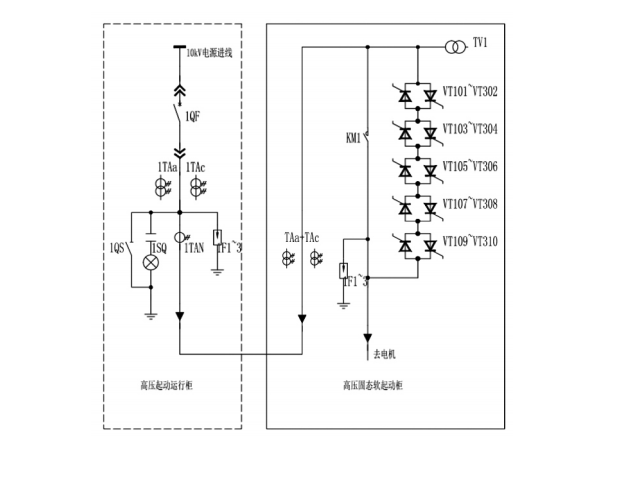
Bruksområde
Høyspent mykstarter er egnet for start av AC-motorer med merkespenning på 3-15KV. Den smarte 3-fase høyspente middelsspenningssolid-state mykstarterenheten er mye brukt i storskala stål, petroleum, kjemikalier, aluminium, brannvern, gruvedrift, kloakkbehandling, elektrisitet og andre industrielle områder, og kan godt matches med motortrekkutstyr. Slik som: vannpumper, vifter, kompressorer, knusere, blandere, båndtransportører og annet elektromekanisk utstyr.
Tekniske parametere:
1. Trefase strømforsyning: AC3K, 6KV, 10KV, 15KV±30%.
2. Kontrollstrømforsyning: AC220V+15 %
3. Frekvens: 50Hz±3 %
4. Gjeldende motor: generell asynkronmotor for ekornbur, synkronmotor.
5. Startfrekvens: kan startes ofte, det anbefales å starte ikke mer enn 10 ganger i timen.
6. Beskyttelsesnivå: 1P4X
7. Kjølemetode: naturlig kjøling eller tvungen luftkjøling
8. Installasjonssted: innendørs
9. Miljøforhold: over 1500 meter over havet bør kapasiteten reduseres tilsvarende.
10. Omgivelsestemperatur: mellom -25~+45C
11. Den tilsvarende luftfuktigheten overstiger ikke 95 % (20C±5C)
12. Ingen brennbar, kulllignende, etsende gass, ingen ledende støv, innendørs installasjon, god ventilasjon, vibrasjon mindre enn 0,5G.
Fabrikkdisplay





Emballasje